🚀[2025/10/14]抖音原生权益包
原小程序权益包业务以核销有礼的方式来实现顾客购买权益包并核销后可获得多张子券,目前抖音官方已经专门为商场行业重新定义了权益包功能,从商场端和顾客端来说都更加贴合权益包的实际运营场景。因此影能侧产品也同步迭代了权益包功能,后续抖音权益包相关操作查看本文档即可。
前置完成工作:
- 来客后台-商场申请开通权益包解决方案
- 来客后台-商场向门店发起合作,门店侧确认合作
- 商管后台-维护门店poi
权益包创建及核销流程:
- 来客后台-创建权益包
- 商管后台-创建权益包,以来客的商品id将两侧的商品做关联
- 顾客购买权益包并核销
- 影能侧根据子券结算时间自动分账,无需再手动划账。
注意:
- 该功能仅针对在抖音渠道售卖的权益包,微信/支付宝/小红书端售卖的权益包流程不变,详见小程序权益包操作手册
- 该功能暂未全量开放,如需使用请联系影能商务经理。
一. 商场申请开通权益包解决方案
操作路径:来客后台——店铺管理——合作管理,开通权益包

二. 商场&门店合作确认流程
1. 商场发起合作


注意:收款方式必须选择「商场收款」,若选择「商铺收款」会导致影能系统中无对应清算单、结算单,无法向商户分账。


2. 门店确认合作


3. 若商户未入驻,商场帮商户入驻


4. 若商户未入驻,商户也可自行入驻


5. 商场&门店合作关系状态查询
- 在店铺管理——合作管理中,可分别筛选查看待处理、合作中、已结束的门店,仅「合作中」的门店才可以进行权益包合作。
- 在店铺名称下方的ID即为门店poi,需在影能商管后台绑定门店poi

三. 商管后台关联门店poi
在商管后台——商场/门店管理中,参与权益包的门店必须维护门店poi,否则门店将无法核销权益包子品。

四. 来客后台创建权益包
1. 创建权益包子品
- 商品管理——权益包子品——创建权益包子品
Tips:
- 权益包中的每个商户创建一个子品,例如本次权益包有30个商户参与,则需要创建30个子品
- 同一个子品可以被多个权益包关联,如果同一个子品在多个权益包中,那么只创建一个子品即可

- 填写子品信息,核心维护采购价、商品详情信息,提交审核。注意填写的内容都应如实填写,以防客诉。
- 商品品类:根据商品实际所属的类目选择,例如海底捞可选择美食/火锅/其他火锅
Tips:
- 子品可选择的商品品类含商场自身可经营类目+已合作店铺覆盖类目,如有未覆盖类目,请确认合作店铺是否已经建立关系;
- 子品选择的类目,对应了子品可以选择适用门店的范围;比如子品选择的是餐饮下的-火锅类目,那么在选择子品适用门店时候,只能关联有此类目经营范围的商家。

- 采购价:即券核销后T+5给商户结算的金额,要按实际与商户协商好的价格填写。此处的采购价填写多少商户即可结算多少,平台佣金不在采购价中体现。
- 平台佣金如何扣除、商场分佣如何计算,详见下文中的「分佣单」
- 子品审核通过后采购价不可修改,如需修改请重新创建子品

- 子品审核通过后,在列表处商品名称的下方可查看子品ID,在影能侧创建权益包时需要使用

2. 创建权益包
-
所有子品创建完成后,再创建权益包;在商品管理——团购商品管理中,点击「创建商品」

-
填写权益包信息,提交审核
- 商品品类:固定选择「购物/综合商场/综合商场商品权益」
- 商品类型:固定选择「商场权益包」

- 组品搭配:可用业态分类,如餐饮/娱乐/购物,在每个业态中选择添加子品,选中在上一步创建好的权益包子品;全部内容填写完成后提交审核

- 权益包创建成功后,在列表中商品名称的下方查看权益包的商品ID,在影能侧创建权益包时要使用

五. 商管后台创建权益包
操作路径:商城——抖音原生团购——抖音原生商品,创建商品
- 商品类型:权益包
- 商品名称:即权益包名称,与来客后台的权益包名称对齐
- 抖音商品ID:填写来客后台——团购商品管理中该权益包商品ID
- 备注名:不对外展示,用于商场运营人员自己区分各个权益包
- 添加商品组:即来客后台该权益包的组品搭配,与来客侧对齐
- 商品组名称:与来客对齐
- 适用门店:指该商品组的适用门店,例如该商品组是餐饮类,则选择参与此次权益包的餐饮类门店


-
协议价:当商场给门店有补贴时,必须填写协议价。 协议价=给门店的补贴金额+卡券本身的结算金额。例如权益包中的某个子品采购价为90元,商场还会额外再向门店补贴5元,则协议价为95元。补贴的金额将通过补差单处理,并纳入月度补差账单进行管理和结算。若无补贴,则不填协议价。
-
结算价:子品核销后的T+5天按结算价向门店进行结算,对应的单据为有价券划拨单,应与来客后台该子品的采购价一致。若平台实结金额>结算价,则差额部分为商场获得的佣金,将通过分佣单处理和结算。
示例:
- 子品A给门店补贴:协议价为25元,结算价为20元,来客后台该子品的采购价20元,则子品核销后的T+5会将20元结算给对应商户,5元会生成营销补差,商场可按月结算给对应商户。
- 子品B无补贴:协议价不填,结算价为20元,来客后台该子品的采购价20元,则子品核销后的T+5会将20元结算给对应商户
- 注意:权益包创建好后,协议价与结算价不支持修改,系统会根据结算价自动结算给商户,协议价中的补贴金额也会自动出补差账单数据,固协议价和结算价一定要按照实际与商户协商好的填写。
- 子品ID:填写来客后台该权益包子品的商品ID
六. 顾客购买核销
1. 顾客购买路径

2. 购买后兑换子品

Tips:
- 已兑换的子品如未使用,可取消兑换并重新兑换
- 子品一经核销,不支持部分退;如产生商责退款(如:门店闭店)用户可进线抖音客服进行举证退款
3. 商管云核销子品

4. 商管云反核销

Tips:若距离核销时间未超过60分钟,可在商管云中将已核销的卡券撤销核销,从而将卡券返还给用户。核销时间超过60分钟的,则不支持反核销。
七. 权益包核销数据查看
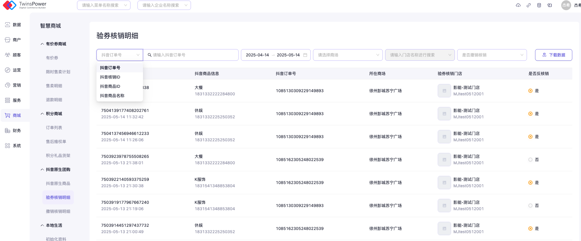
1. 验券核销明细
- 可以通过抖音订单号/抖音核销ID/抖音商品ID/抖音商品名称搜索指定的验券核销明细
- 支持按照商场/核销门店/是否核销来筛选查看指定的验券核销明细
- 验券核销明细数据支持导出

-
验券核销明细中,可查看该券核销的具体门店、核销时间、核销方式、核销人员等具体信息

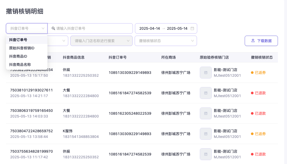
2. 撤销核销明细
对于核销60分钟以内的卡券,支持在商管云撤销核销,即将卡券返还给用户。核销时间超过60分钟的,则不支持在商管云中撤销核销,即不支持退还卡券给用户。
-
支持通过抖音订单号/原始抖音核销ID/抖音商品ID/抖音商品名称搜索指定撤销核销明细
-
支持按照商场/核销门店/撤销核销状态筛选指定撤销核销明细
-
其中对于撤销核销状态为「已返券」的,表示在核销后60分钟内进行撤销核销的,已将核销的卡券返还给用户
-
撤销核销明细支持导出

-
可点击查看撤销核销详情,包括撤销核销时间、撤销核销方式、操作人(来客侧发起退款的,则不会显示操作人)、撤销核销状态等具体信息

八. 权益包结算数据查看
1. 有价券销售划拨单
权益包子品核销后,会在第二天生成对应的有价券销售划拨单,即商户在核销权益包子品后可结算的金额。
查看路径:财务——清算单——有价券销售

表头字段解释:
- 有价券销售划拨单分商场和门店两种,权益包生成的划拨单资金结算对象均为门店,固需要切换至「门店」查看划拨单数据
- 单据时间:是指该卡券对应的核销产生的时间
- 预计结算时间:T+5(受抖音结算提现规则限制)进行结算
- 实结金额:实际结算金额,应结算金额减去总扣减金额等于实结金额
- 关联核销/反核销单:对应「验券核销明细」与「撤销核销明细」中的核销ID
- 结算状态:
- 结算完成:表示该笔卡券的实结金额已经自动结算给对应的结算户
- 未结算:表示该卡券的实结金额还没有结算给对应的结算户
- 未结算的原因如下:
- 未到结算时间,系统每天下午三点开始进行结算任务
- 对应的结算户未完成结算户的入驻,需完成结算户入驻方可完成结算(统收银门店可考虑添加至商场结算户统收银门店中)
- 结算户受限,若结算户受限,需解除受限后方可进行结算
- 监管户余额不足,可在「财务-结算管理-批量结算日志」中查看结算进度,是否存在「余额不足」的情况。可对比待结算金额和监管户金额,若监管户金额少于待结算金额,则无法结算
- 查看该门店是否有未结算的反划拨单,且未结算的反划拨单金额大于未结算的正划拨单。因为反划拨单金额+正划拨单金额<0时,表示该门店实际还欠商场/总部金额,因此本次不结算,只有等该门店什么时候正划拨单金额大于等于反划拨单金额时才会结算。(反划拨单是有价券退款/闪电买单等退款时产生的财务账单)
- 未结算的原因如下:
- 无需结算:手动对划拨单进行了调账处理,对于标记为无需结算的订单将不会进行自动结算
- 卡券信息:即权益包子品名称
- 有价券销售划拨单详情:点击有价券销售划拨单后进入有价券销售划拨单详情,该页面包含关联的有价券订单、结算信息等更多的信息

- 当有些门店因各种原因无法入驻开通结算进行自动结算时,或有些门店有价券划拨单产生后不准备直接给商户进行自动结算时,可通过调账的方式,将「未结算」的划拨单调成「无需结算」
2. 营销补差
当权益包设置了「协议价」时,则协议价与结算价的差额部分算作商场向门店的额外补贴,系统会生成补差账单。营销补差只是展示全部补差数据,而商场具体如何向商户结算补贴的金额,详见应付账单
查看路径:财务——清算单——营销补差
表头字段解释:
- 单据时间:即卡券核销的时间
- 门店信息:即补差对象
- 补差金额:按照协议价-结算价生成的补差金额
- 补差类型:权益包补差类型均为「卡券优惠」
- 补差类型信息:权益包子品名称
- 批量调账:当因种种原因无需向门店进行补差时,可通过调账的方式,将补差单调成「无需结算」
示例:
权益包中子品的协议价为25元,结算价20元,则补差金额为5元;协议价无,结算价20元,则表示不补差。

3. 分佣单
当权益包的售价大于各分类中最高子品采购价之和时,则会生成分佣单,即商场获得的佣金。
查看路径:财务——清算单——分佣单

表头字段解释:
- 单据时间:即权益包中子品核销的时间
- 预计结算日期:T+5(受抖音结算提现规则限制)进行结算,资金会结算至商场结算户。
- 业务类型:权益包的业务类型均为「有价券」
- 关联划拨单编号:即对应的有价券订单编号
- 结算状态:未结算、结算中、结算完成、无需结算
- 分佣金额:以下图为例,子品的售价、采购价、权益包的售价由商场填写,其余价格均由系统自动计算。当
顾客核销了正餐B,那么90元采购价会结算给对应商户,商场可获得的佣金为131.1-90-3.3=37.8元

九. 常见问题
- 来客账户权限问题
Q:开通了权益包解决方案,为什么没有创建子品能力,以及合作关系管理能力?
A:请对具体实操账号,在来客里进行权限配置

- 影能账户权限问题
Q:影能后台没有抖音原生团购的功能?
A:可联系超级管理员开通

- 无法邀约合作的店铺如何参与权益包
如因商户不愿入驻来客等种种原因无法邀约合作,也可参与权益包活动,建券时需注意:
- 在来客创建权益包子品时,适用门店类型选择「商场适用」,其余子品信息正常填写
- 在商管后台门店管理中无需填写该门店的poi
